插入式電磁流量計由插入式電磁流量計傳感器和插入式電磁流量計轉換器配套組成(簡稱流量計),用來測量管道內各種導電液體的體積流量。
插入式電磁流量計的工作原理是基于法拉第電磁感應定律。在電磁流量計中,測量管內的導電介質相當于法拉第試驗中的導電金屬桿,上下兩端的兩個電磁線圈產生恒定磁場。當有導電介質流過時,則會產生感應電壓。管道內部的兩個電極測量產生的感應電壓。測量管道通過不導電的內襯(橡膠,特氟隆等)實現與流體和測量電極的電磁隔離。
插入型電磁流量計是一種測量導電流體體積流量的感應式儀表。插入式電磁流量計是在管道式電磁流量計的基礎上發展起來的一種新型流體流量儀表。它在保留管道式電磁流量計優點的基礎上,針對管道式電磁流量計在大管道上安裝困難,費用大等缺陷,用電磁方法通過測量流體的平均流速,從而獲得流體的體積流量。特別是采用帶壓開孔、帶壓安裝技術后,插入式電磁流量計可在不停車(水)的情況下安裝,也可在鑄鐵管道,水泥管道上安裝。
插入式電磁流量計主要用于測量封閉管道中的導電液體和漿液中的體積流量。包括酸、堿、鹽等強腐蝕性的液體。插入式電磁流量計廣泛應用于石油、化工、冶金、紡織、食品、制藥、造紙等行業以及環保、市政管理,水利建設等領域。
插入式電磁流量計特點:
1、耐腐蝕全不銹鋼材質、ABS全模具生產探頭
2、結構簡單、牢固、無活動部件、使用壽命長 測量可靠、抗干擾能力強
3、體積小、重量輕、安裝方便、維護量小
4、測量范圍大,測量不受溫度、密度、壓力、粘度、導電率等變化的影響,壓力損失為零
5、能夠在不斷流的情況下進行安裝、拆卸,為用戶的檢修帶來了方便 較一般電磁流量計的制造成本和安裝費用低,特別適合大中口徑管道流量測量
6、采用先進的加工工藝,固態封裝、耐震動等特點,使儀表具有良好的測量精度和穩定性
7、流量計不僅有4-20mA電流信號輸出,同時還有1-2000HZ頻率輸出 數字通訊輸出:RS485、RS232、HART、Modbus。

插入式電磁流量計技術參數:
| 性能 | 技術參數 |
| 管道通徑 | 100mm-3000mm |
| 流速范圍 | 0.1m/s~10m/s |
| 精度 | 0.5~10m/s:±1.5%FS;0.1~0.5m/s:±2.0%FS 0.1~10m/s:±2.5%FS(FS指40%~-100%滿量程流量) |
| 電導率 | > 20μs/cm |
| 介質溫度 | -20℃~/+130℃ |
| 環境溫度 | -20℃~/+60℃ |
| 耐壓 | 1.6MPa |
| 防護等級 | IP65(一體) IP68(分體) |
| 電極材質 | 316L不銹鋼 |
| 輸出信號 | 4-20mA;RS485;HART協議;MODBUS協議 |
| 傳感器材質 | 不銹鋼 |
| 工作電源 | 220VAC,允差15%或24VDC,紋波≤5% |
| 功率 | 6.5W |
| 耐壓等級 | ≤1.6MPa |
插入式電磁流量計選型:

1,在選擇插入式電磁流量計時,需要考慮流體的性質,包括流體的粘度、密度、溫度、壓力等。
2,在選擇電磁流量計時,需要考慮流量范圍,即電磁流量計的大流量和小流量。一般來說,電磁流量計的流量范圍越大,價格越高,因此,在選擇電磁流量計時,應根據實際需要選擇合適的流量范圍。
3,在選擇電磁流量計時,還需要考慮精度要求。一般來說,電磁流量計的精度越高,價格越高,因此,在選擇電磁流量計時,應根據實際需要選擇合適的精度。
總之,電磁流量計的選型是一項復雜的工作,需要考慮到流體的性質、流量范圍、精度要求等多方面因素。在選擇電磁流量計時,應根據實際需要,綜合考慮上述因素,選擇合適的電磁流量計。
插入式電磁流量計安裝
插入式電磁流量計傳感器安裝上游直管段不低于5D(D表示管徑),下游直管段不低于2D:
1、垂直安裝,傳感器插入管道時應與管道斷面的垂直直徑夾角小于5°,適用于測量管道振動小的清潔介質。

2、傾斜安裝,其傳感器的軸線與被測管道的軸線夾角為45°,適用于大管徑且測量介質中含有其它雜質的液體流量測量,該安裝方式水阻小,不宜纏掛。

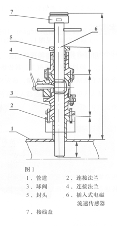
插入式電磁流量計傳感器插入點有兩種方法:一是插入到被測管道的中心軸線上(即1/2倍的管徑);二是插入到管道內壁為管道的1/4處。
傳感器的安裝:
1、清理被測管安裝底座的焊渣和毛刺。
2、關掉上游流量控制閥門或采用低壓供水。
3、將DN50球閥安裝到安裝底座上,注意球閥的長空腔向上,檢查球閥是否能全開、全關,將壓緊螺紋座、壓緊螺母和橡膠密封圈安裝到球閥上,松開定位螺母,將傳感器插入桿通過球閥插入被測管道,同時應注意傳感器方向標志桿指向應和流體流向一致。 訂貨須知訂貨時請寫明被測介質名稱、工作壓力、介質溫度、流量(流速)范圍管道通徑和被測管網情況等。